產品中心
Product Center
產品簡介
YNHC-715系列半導體智能除濕裝置是采用半導體制冷除濕方式,主動將密閉空間的潮濕空氣在風扇的作用下吸入除濕風道,空氣中的水汽經過半導體制冷機構后冷凝成水,再通過導水管排出柜體,可以達到很好的除濕效果。通過減低空氣中含水量,使相對濕度和絕對濕度同時下降。智能型除濕裝置把被動防止凝露方式,改為主動引導凝露,有效的防止柜內設備老化、絕緣強度降低、二次端子擊穿、材料霉變及鋼結構件銹蝕等安全隱患,保證電網安全運行。
應用范圍
□GIS控制柜、高低壓控制柜、高低壓開關柜、環網柜、戶外端子箱、機械控制柜、箱式變電站、干式變電站等電氣設備;
□集成電路,硅晶體,液晶器件,陶瓷器件、阻容元件,有源器件,接插件,SMD器件,CPU,計算機板卡防潮儲存;
□物理化學儀器、實驗材料、絕緣材料的防潮管理,化學品、藥品、食品、纖維、生物制劑的防潮儲存。
產品特點
□體積小、重量輕、安裝方便快捷;
□自動運行與手動除濕功能切換、溫度啟動值和除濕啟動值可調;
□除濕風道主動引凝、排出氣體加熱降濕,有效達到了對電氣柜密閉空間防潮除濕的綜合治理;
□濕度、溫度傳感器24小時實時采樣,超出設定啟動值自動引凝;
□濕度、溫度設置具有記憶功能,不會因為停開機而消失;
□故障顯示及報警功能,可快速查找故障點保證正常運行;
□采用專用防潮元件,外殼采用ABS耐高溫阻燃材料,保證在潮濕環境下正常工作;
□除濕引凝管路,可把引凝后的水排出柜外,同時也可采用儲液袋柜外收集。
□RS485通訊功能,可遠程控制、調節運行參數以及故障上報功能。
技術參數

安裝
(1)接線端子示意圖

(2)外形尺寸圖

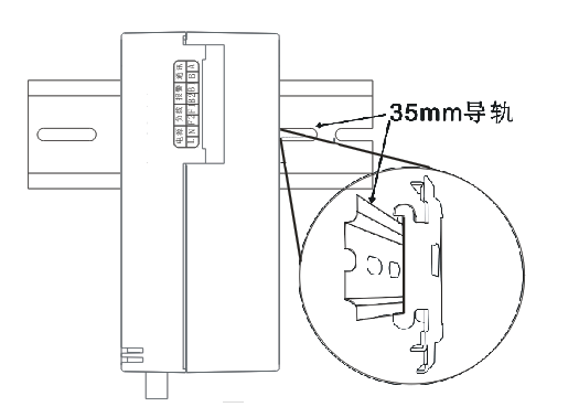
(3)安裝示意圖

背面安裝示意圖

側面導軌安裝示意圖